近日,百度推出了一款名为“有驾”的APP,再次引起了广大吃瓜群众的关注。

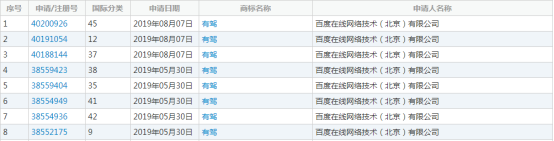
根据商标网查询,百度在2019年5月-8月期间,申请了8类“有驾”相关的商标,分别是45类、12类、37类、38类、35类、41类、42类、9类。

“有驾”这个词含义十分明显,一下就可以领悟出是与驾驶、汽车相关的。
百度想入局汽车行业,可以说是筹备已久。
2019年7月8日,“有驾”微博审核通过。
2019年7月9日,“有驾原创”公众号通过微信认证。
2019年8月27日,百度汽车首次在业界亮相,百度汽车面向汽车垂直类创作者发起了“YOU+计划”,主要包括对汽车类作者关于流量、品牌、收益、服务方面的扶持。
2019年11月22日,“有驾”品牌标志首次在广州国际车展上跟百度汽车一起亮相。
2019年12月18日,原“百度老司机”微信公众号认证名称变更为“有驾”。
如今随着市场及车迷的需求增加,“有驾”借机推出了独立APP,进一步深入汽车市场。
百度会启用什么域名呢?
百度从搜索引擎起步,到今天,已经布局了短视频、电商、云计算、人工智能等多个领域。
棋下的越大,对品牌的保护就更刻不容缓。
这一点,百度一直都做的还算不错。
从域名上看,百度双拼baidu.com早已深入用户内心,已成为百度自己的品牌印记;而在其他业务版块上的域名选择,百度也值得学习,比如:两声母叠域名KK.com被用于旗下多酷游戏平台;收购“度小满”全套三拼duxiaoman.com等用在金融业务上;域名dwz.cn也被百度用在了短网址平台上;另外,百度还成功申请了“.baidu”后缀域名所有权。
再来看看“有驾”相关的域名:
Youjia.com:已被注册,暂无公开信息;
Youjia.com.cn:已被注册,暂无公开信息;
Youjia.cn:已被注册,目前持有人为“四三九九网络股份有限公司”,访问后跳转至“网游之家”的界面。
根据百度的习惯,二级域名是它的偏爱,例如百度文库(wenku.baidu.com)、百度知道(zhidao.baidu.com)、百度贴吧(tieba.baidu.com)等等,大家觉得这次百度会怎么选择呢?
Allen 

客服
微信客服
QQ客服
电话
公众号
域名委托
置顶
微信咨询